XboxБез категорииДругое
Microsoft запатентовала новый способ ввода текста – Двухслойную клавиатуру
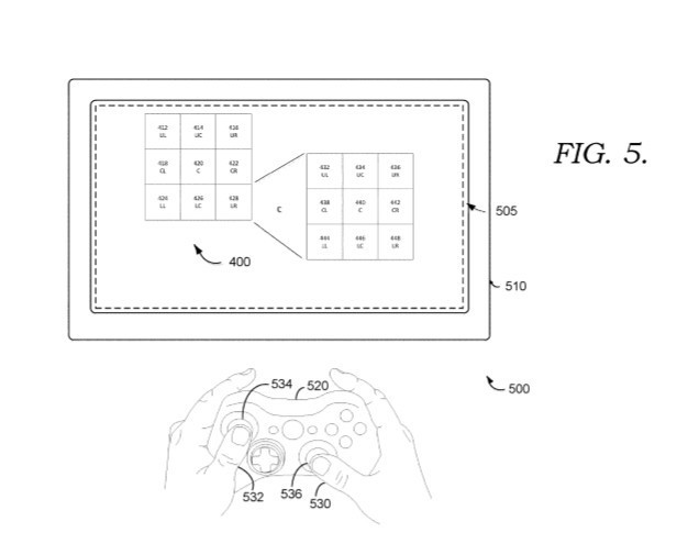
Несколько недель назад в сети появилась информация о том, что Microsoft запатентовала новую возможность ввода информации на Xbox при помощи геймпада, использую «циферблат» с буквами. Сегодня появились сведения о новом патенте Microsoft, который касается ввода, но описывает другую технологию.
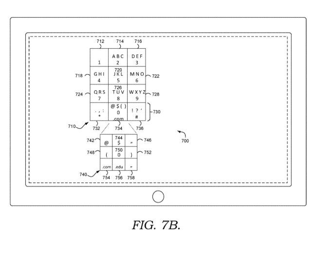
Новый патент, о котором опубликовал информацию ресурс Windows Central, предусматривает новый метод ввода под названием «Dual Input Multilayer Keyboard» – двухслойная клавиатура. Патент описывает, что всплывать новые ключи или отдельные символы для ввода слов будут при движении в некотором направлении стика или при соответствующем жесте на экране. При этом технология может быть реализована как виртуальная клавиатура с несколькими уровнями ввода. То есть, чтобы перейти к отдельной букве, нужно будет сначала зайти в группу букв, после чего раскроется новая масса символов, среди которых выбирается итоговый. Такой метод ввода должен помочь в ситуации, когда клавиатура занимает значительную часть экрана, например, в ландшафтном режиме на мобильных устройствах.
Из патентов Microsoft явно видно, что компания стремится улучшить способы ввода не только конкретно для Xbox. Если в ближайшее время с помощью платформы потоковой передачи XCloud игры от Xbox будут доступны на мобильных устройствах, на них должна быть реализована более удобная система ввода, чем с клавиатурой на значительную часть экрана.


